Полезная информация


Доработка моего велосипеда-чоппера

Автор A_doctor, 01 Март 2019 в 10:59

« назад - далее »

0 Пользователи и 1 гость просматривают эту тему.

SOLO 12

Чего то перемудрил ты дружище! Но крайне интересно как оно работать будет! никаких милиметровых зазоров там не должно быть, раздолбит за одну покатуху. рабочие поверхности втулка - ось или втулка - втулка полированные должны быть и часто обслуживаться. Советую во втулку пустить гайку эриксона, предварительно подобрав её по длинне. Кастом это боль :-D
Schwinn Stingray, недотрёха, ЯК, 60V, 2.8 kw/h LG Chem
Felt BANDIT,  Bafang bbs-02 750w, 13s6p mh1, Nuvinci 380
Basman, Bafang BPM + Q100, 52V , 2.2 kw/h microvast gen4

A_doctor

Цитата: SOLO 12 от 04 Апр. 2019 в 14:06
Чего то перемудрил ты дружище! Но крайне интересно как оно работать будет! никаких милиметровых зазоров там не должно быть, раздолбит за одну покатуху. рабочие поверхности втулка - ось или втулка - втулка полированные должны быть и часто обслуживаться. Советую во втулку пустить гайку эриксона, предварительно подобрав её по длинне. Кастом это боль :-D
Я согласен) посмотрим, я в общем ничего особо не теряю, кроме денег за фрезеровку. Удовольствие от процесса бесценно)

SteelWolf

Цитата: A_doctor от 03 Апр. 2019 в 23:24
Реализовано через стальную втулку в маятниках.
Втулка жестко запрессована в маятник.
Дальше 2 варианта. Первый простой- болт м10 прижимается 2 гайками к раме, а маятнику оставляем миллиметровый запас для свободного хождения.
Второй вариант- более сложный- во втулку в маятнике вставляется ещё одна втулка, которая прижимается болтом к перьям. Само колесо закреплено в перьях неподвижно. Регулировка натяжения цепи исключительно в раме.

В принципе уже Solo12 написал - первый вариант он вообще не вариант - мало того что всё это раздолбится за одну поездку, при наличии зазоров это всё будет очень жестко люфтить по всем возможным плоскостям - тут и колесо начнёт гулять и тормоз чиркать о диск, как не регулируй его, потому как тут два независимых маятника по факту. Гайки будут на оси колеса постоянно раскручиваться - сталкивался на спрингерах с такой ерундой. Малой кровью, тут не обойтись и по хорошему нужно делать серьёзные узлы вращения и желательно на парах радиально-упорных подшипников, что бы маятники, с одной стороны, хорошо двигались, а с другой, кроме как в одной плоскости больше ни в какой другой вообще никаких подвижек не имели. Крепление тормоза на маятнике тоже очень плохая идея - при работе тормоза усилие будет постоянно передаваться в пружины и соответственно это будет и повышенный износ вызывать шарнирной системы, и при быстрых остановках, когда будешь отпускать тормоз, эти пружины будут резко выстреливать и создавать не особо приятные ощущения и удары. На мото-спрингерах, если посмотришь, суппорты имеют совсем иную системы крепления, такую, что бы усилие передавалось в жесткую опорную конструкцию, минуя все узлы вращения (в неподвижную часть вилки). Это исключает клевки при торможении. У меня, когда был спрингер, я пытался реализовать такую систему, но получилось не очень надёжно и жестко в силу конструктивных ограничений, обусловленных использованием вело-комплектующих. Там нужно с нуля спрингер разрабатывать, что пока отложил на неопределенный срок.
Vortex Kustom Chopper, Bafang BBSHD 1kW, LiFePo4 48V 20AH

Tonych

[user]A_doctor[/user], если не хочешь слушать меня, послушай ребят))
И кстати, в этой теме заценивают готовые байки. Предлагаю создать новую тему и перенести обсуждение туда.

Кузьма

Ну да логично. Что то вроде конструктирования и его обсуждения. А тут чисто фото и видео готовых.

SOLO 12

А_Доктор! примерные варианты:






Schwinn Stingray, недотрёха, ЯК, 60V, 2.8 kw/h LG Chem
Felt BANDIT,  Bafang bbs-02 750w, 13s6p mh1, Nuvinci 380
Basman, Bafang BPM + Q100, 52V , 2.2 kw/h microvast gen4

A_doctor

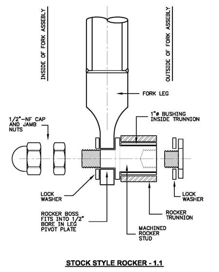
У меня почти первый вариант, но рокеры к раме крепятся через 2 гайки. Затяжение первой позволяет затянуть или ослабить рокер
собрал.
Сзади необходимо только крепление амортизаторов к раме приварить

A_doctor

Наконец обода.
Ещё со времён покупки хотелось широкие обода.
Переделка велосипеда изначально и затевалась как раз под 100 обода.
На чоппердоме купил обода 102 мм
В Сокольниках переспицевали колеса.
Волнительным был момент- натянется ли покрышка 3,0 на 102 обод- да, все вышло почти как хотел.
Почему почти? Контур шины полукруглый, до последнего надеялся на прямой контур. Возможно резина растянется и сядет как я хочу.
Остаётся решить вопрос по электрике и приварить крепления для амортизаторов.
Затем полная покраска.



A_doctor

Первый выезд состоялся!!!
Черновая сборка завершилась сегодня. Первый блин почти не комом. Чуток передние рокеры раскрутились.
Из того, что придётся переделывать- более мягкие пружины вперёд, гайки менять на втулки.
Но катать можно и так.
Изменилось управление- будто на другом велосипеде






Задняя подвеска работает очень приятно- мелкие кочки вообще не чувствуются, большие проходит мягче.

A_doctor

Ура, на 3 попытку мне наконец удалось сварганить бак.
Примерка пока черновая, есть чем заняться, но он на велосипеде и выглядит более-менее)
На самом деле денег в него влито огого, но зато столько опыта пришло)
Первые 2 бака были вариацией из шпаклевки, в результате огромный вес и они все шли трещинами,
Этот парень сделан из пвх и покрыт сверху литиевым пластиком.
Бак состоит из 2х частей- верхняя половина и нижняя половины. Нижняя часть прикручена к раме, верхняя плотно одевается сверху. Для зарядки верх слегка поднимается и втыкается разъем.
Остались по сути мелочи- отшкурить до однородной плоскости, доделать передную и заднюю части бака с местом входа проводов и окрасить.

Кстати размещаю ещё фото- ненужные запчасти.

Про них тут https://vk.com/photo-383211_456248159

Alexander51

[user]A_doctor[/user], доброго здоровья! Бак можно делать из фольгированного текстолита (если он ещё есть). Он гнётся, хорошо обрабатывается. Сборка частей при помощи пайки. Обожаю этот материал...

A_doctor

Цитата: Alexander51 от 15 Май 2019 в 09:50
[user]A_doctor[/user], доброго здоровья! Бак можно делать из фольгированного текстолита (если он ещё есть). Он гнётся, хорошо обрабатывается. Сборка частей при помощи пайки. Обожаю этот материал...
Спасибо за совет, но он почти готов, его только обработать и окрасить, ну и допилить чуть чуть)

A_doctor

Давно не писал.
Бак лень готовить к покраске, на днях надеюсь отвезу малярам.
Вчера переставил амортизаторы за передную ось на передней вилке и о чуда. Любые неровности отрабатывает на ура!!!
Прикрепил крыло спереди.
Осталось прикрепить заднее и вернуть назад багажник.
А из плохих новостей- раздвигал я раму домкратом и она начала сходится назад. Выдавливает втулку.
Для начала попробую вновь раздвинуть домкратом, если не выйдет- отвезу к сварщику, пильнем и сварим заново.

A_doctor

Пришла задняя фара, завтра забираю с почты разъёмы и понижающий трансформатор и начинаю ваять свет. Так как я с электрикой не дружу, думаю будет интересно)






A_doctor




Свет успешно установлен.
Имеем ближний/дальний, задний габарит, стоп сигнал от ручки.