avatar_UriBas

Продвинутое самодельное универсальное ЗУ на МК

Автор UriBas, 02 Апр. 2018 в 22:43

« назад - далее »

0 Пользователи и 2 гостей просматривают эту тему.

UriBas

#666
Цитата: Cyberpapa от 10 Июнь 2019 в 18:03Т.е. - имеющиеся у вас версии ЗУС не смогли выжать более 50% емкости ?
После заряда вашим алгоритмом какую емкость удалось получить ? 
ЗУС поднял остаточную емкость самой слабой банки где-то с 1,5Ач до 4Ач, но до 50% не смог..  (все попытки поднять и дальше, сводились  только к провалу по емкости.. - больше не лезло)..  все остальные методы вообще ничего практически не давали (по Бранимиру не пробовал). 

После данного алгоритма разряд еще не делал..  заряд еще идет.  Начал заряжать с 9 июня, был перерыв (из-за сбоя компа), а сегодня с 5ч утра начал  снова..  закачал всего прим. около 3Ач , НРЦ все еще повышается..   По алгоритму конец заряда должен произойти, когда либо по дельте, либо при достижении порога в 14,4В будет минимальная длительность заряда (0,5 секунд), так что запас еще есть.. ток заряда держится 0,2А (средний ток меньше), при этом длительность заряда достигает (на данный момент времени) 8 секунд.   
Восточная мудрость - "Шакал воет - караван идет"  Эл.вел. 350Вт.   Верую в Иисуса Христа, НЛО.  тема "продвинутой моргалки" https://electrotransport.ru/index.php?msg=1669651

Кass

Цитата: UriBas от 10 Июнь 2019 в 16:39который  лет 7-8 назад купил с рук и уже был с остаточной емкостью 10-20%..

У вас такое продают за деньги?

Цитата: UriBas от 10 Июнь 2019 в 16:39Внизу графика - секунды, всего 40секунд - это пауза в 40секунд которая делается, если либо порог выше 14,4В либо дельта выше 0,5В..  Дельта спасает слабые банки от взлета вверх! И все банки, равномерно берут ток..  НРЦ растет! 

ИМХО показателем все же должно быть внутреннее сопротивление и емкость, а не НРЦ. Можно взять конденсатор на 1 мФ и зарядить его до 13В. Дальше то что? От этого можно заводить Камазы? Не конечно. Обычно у мертвой АКБ НРЦ даже выше чем у новой, а ССА и емкость никакие.
АРМ стенда онлайн: http://scada.kontar.ru Пользователь: Электротранспорт, Пароль: 111111

Гербалайф от всех болезней, Кашпировский лучший врач,  Орифлейм самая лучшая косметика, а МММ самый лучший способ вложения денег. Кто бы спорил. ;)

UriBas

#668
Цитата: Кass от 10 Июнь 2019 в 18:53У вас такое продают за деньги?   ИМХО показателем все же должно быть внутреннее сопротивление и емкость, а не НРЦ. Можно взять конденсатор на 1 мФ и зарядить его до 13В. Дальше то что? От этого можно заводить Камазы? Не конечно. Обычно у мертвой АКБ НРЦ даже выше чем у новой, а ССА и емкость никакие. 
Та! Деньги там были как за металлолом..  и покупались для опытов. 

Да, можно заряжать и "кондер"..  а потом "выхлоп ноль".    Внутренне сопротивление мерил в паузе между зарядами, до этого, в самой слабой банке было больше Ома..  (пардон, немного соврал.. - около 200мОм)  сейчас каждая банка не боле  5мОм.. общее - 27мОм!  Что радует.   Раньше, при заряде, НРЦ сильно падало.. и за несколько секунд сваливалось ниже 2В на банку (в слабых).. немного держалось на уровне 1,9В и потом опускалось до 1,0В.. вот такая была динамика (типично для банок переживших глубокий разряд с переполюсовкой..).    Поэтому,  сейчас больше смотрю на динамику НРЦ в паузе 40сек. и вижу, что есть изменения в пложительную сторону.

Картинка стенда для испытаний
Спойлер

P.S. (11 июня 2019 6ч 18м. Киевское время) За ночь НРЦ  поднялось еще на 0,05В ..  начало паузы - 13,97 (13,67)  конец паузы 13,54 (13,24).. в скобках это поправка на реальные показания.   Время максимального заряда сократилось до 3,4 сек. при токе 0,2А.  и дополнительно залилось еще около 0,5Ач.  В принципе, это сильно напоминает заряд малым током.. отличие только в том, что заряд идет током немного выше, с паузами и с раскачкой по Фибоначи.    Слабые банки ободрились, НРЦ держится не менее 2,2В, и верх (2,35-2,40) достигается уже все медленнее, у здоровых тоже НРЦ на уровне 2,22В и охотно берут еще заряд (судя по дельте).  Думаю, что сутки АКБ еще позаряжается и потом на разряд.. там все сразу выяснится.
Восточная мудрость - "Шакал воет - караван идет"  Эл.вел. 350Вт.   Верую в Иисуса Христа, НЛО.  тема "продвинутой моргалки" https://electrotransport.ru/index.php?msg=1669651

UriBas

#669
Сегодня, в 11ч (по Киевскому) случайно задел провод и пришлось остановить процесс..  подождал 4 часа, померял НРЦ.. и самая плохая банка ушла до 2,0В .. раньше уходила ниже, но все равно это плохо, значит там мягкое КЗ.  Остальные банки держались хорошо, (первая от минуса) 1)-2,14 2) 2,00 3) 2,17 4)2,16 5) 2,17 6) 2,17
Потом решил дать заряд постоянным током в 0,5А шестиканалкой - т.е. заряд на каждую банку индивидуально. На удивление, вторая банка сразу не подскочила вверх, а стала интенсивно брать заряд.. остальным хватило по 50-70мАч чтобы достигли порога 2,4В..   Вторая банка взяла 0,2Ач до порога 2,4В.. 

Решил сделать контрольный разряд током 1,25А (0,1С)..  Вторая, самая слабая улетела на 1,94В и в течении полчаса упала всего до 1,91.. остальные держались на уровне 2,08В.  В общем, самая слабая банка отдала 1,48Ач  до порога 1,8 и после сразу улетела в ноль, даже не успел вовремя отключить.   Поскольку мой стенд еще не готов, решил зарядить шестиканалкой ССCV  до  2,4В током 0,1А.. посмотрим, сколько она вольет и потом выльется.

Выводы, конечно, еще делать рано.. но все же слабые банки подтянулись, особенно две из трех (кроме второй).. уверенно отдали 1,5Ач и запас еще был хороший- №1  была на 2,06В,   №3 - 2,07В, (номера от минуса) когда №2 (вторая) свалилась в ноль.  Три остальные (№4, №5, №6), которые в лучшем состоянии, вообще держались как вкопанные на 2,08В.

Алгоритм работает, дельта четко держит пороги банок и они не выпригивали выше 2,4В.. наблюдал по приборам каждую банку. Еще предстаит испытать, как будет заряжать нормальный АКБ, на сколько затянется процесс и как ровно будут заряжаться банки?  Качели так и не попробовал.. 
Восточная мудрость - "Шакал воет - караван идет"  Эл.вел. 350Вт.   Верую в Иисуса Христа, НЛО.  тема "продвинутой моргалки" https://electrotransport.ru/index.php?msg=1669651

Cyberpapa

[user]UriBas[/user], пробовали c усилием тыкнуть зубочисткой в положительные пластины ?
Свинец в них крепкий ?

UriBas

[user]Cyberpapa[/user], Потыкал, вроде как все твердое..  Может не туда и не так сильно?.. Сверху ничего такого не видно.   Надежда на то, что пластины хоть как-то целые, а высокий саморазряд, это остаток переполюсованных участков.. они то и садят. По прикидкам, саморазряд не менее 20-30мАч.  Эту банку с недельку-две бы на малом токе подержать, может все это дело т войдет в норму.  Ну а если и после этих процедур не поможет, тогда в утиль.. а, забыл..  еще есть переполюсовка - надо будет попробовать (даст Бог).
Восточная мудрость - "Шакал воет - караван идет"  Эл.вел. 350Вт.   Верую в Иисуса Христа, НЛО.  тема "продвинутой моргалки" https://electrotransport.ru/index.php?msg=1669651

Кass

Цитата: UriBas от 10 Июнь 2019 в 19:17Поэтому,  сейчас больше смотрю на динамику НРЦ в паузе 40сек

ИМХО эт тоже не показательно. Смотреть нужно параметры АКБ после цикла заряда и некоторого отстоя. Цыплят по осени считают.

У меня вот супруга высадила АКБ на БМВ в ноль. Пару дней заводилась с пускача. Я взял на работе резервную АКБ с ССА 800А, которая использовалась иногда на грузовике, а так простояла минимум пол года в мастерской. Там 12.28В.  Сколько он стоял при таком НРЦ не знаю. Думаю, что с зимы. Я ее на стенд. Попробовал сначала разряжать током 1А, не проваливается, держит напряжение, ну тогда отключил разряд и оставил заряжаться. Вот заряд:



Вот итог:



Сегодня ее поставили на икса, все ОК. Высаженный принес домой, 10.37В. Поставил на стенд. Посмотрим что получится. :)
АРМ стенда онлайн: http://scada.kontar.ru Пользователь: Электротранспорт, Пароль: 111111

Гербалайф от всех болезней, Кашпировский лучший врач,  Орифлейм самая лучшая косметика, а МММ самый лучший способ вложения денег. Кто бы спорил. ;)

Cyberpapa

[user]Кass[/user], ты вполне справедливо критикуешь Юрия.
А сам :
Цитата: Кass от 12 Июнь 2019 в 22:19Попробовал сначала разряжать током 1А, не проваливается, держит напряжение,
Очень показательно, батарея с грузовика достойно держит 1 А (ток ≈ 0,01С), в течении 2ч20 мин.
Цитата: Кass от 12 Июнь 2019 в 22:19У меня вот супруга высадила АКБ на БМВ в ноль.
Батарея разрядилась и за пару дней поездок не зарядилась выше 10,37 В. Может не Оля разрядила, а генератор не хочет толком заряжать, или в батарее завелся пушной зверек ?

UriBas

#674
Сегодня наконец подопытный зарядился шестиканалкой (ВС168) током 0,1А,  с контролем банок до 2,4В ..Времени ушло на заряд 35часов и  влилось примерно столько же (3,5Ач) сколько и моргалкой по алгоритму.  У шестиканалки преимущество - у нее каждый канал заряжается и контролируется отдельно, заряд идет максимально быстро и без  влетов отдельных банок выше 2,4В, но моргалка по алгоритму справилась по времени почти одинаково и тоже без взлетов.. правда ток был 0,2А, но это скорей преимущство, чем недостаток (положительные пластины будут целее).   

То есть, можно сделать (предварительный) вывод, - что по скорости заряда моргалка не уступает классическому ЗУ, но с оговоркой - ток должен быть выше в два раза.  К примеру, если заряжать АКБ 12В 12Ач классикой СС-CV током 0,1С то моргалка с данным алгоритмом зарядит по времени точно так же, но током 0,2С без всякого ущерба для АКБ (поскольку ток по среднему получается такой же)  +  есть гарантия, что не произойдет перезаряд отдельных банок! (если конечно  есть "слабые"  банки после глубокого разряда и т.п.)

Поведение самой слабой №2 точно такое же - падение НРЦ после заряда до 2,0. 

Сейчас дописываю в программе модуль ИНА219, для контроля, чтобы точнее измерялось напряжение.  (В принципе, потом можно будет без него). Ну и надо будет сделать функцию разряда и замера вн. сопр. - чтобы вручную не морочится.  Разряд как с фиксированным порогом (с выкачкой или без), так и по скорости падения напряжения - когда программа будет отслеживать "провалы" банок, а затем предупреждать или останавливать разряд.(Что позволит без риска  переполюсовки слабых банок, разряжать до минимального порога (если надо)) ..  Код уже почти готов (может 2-7 дней надо будет, если Бог даст и все будет хорошо).
Восточная мудрость - "Шакал воет - караван идет"  Эл.вел. 350Вт.   Верую в Иисуса Христа, НЛО.  тема "продвинутой моргалки" https://electrotransport.ru/index.php?msg=1669651

Cyberpapa

Цитата: UriBas от 13 Июнь 2019 в 11:30можно сделать (предварительный) вывод, - что по скорости заряда моргалка не уступает классическому ЗУ,
[user]UriBas[/user], ранее Вы утверждали, что моргалка заряжает более быстро чем CC/CV.
По ранним вашим утверждениям батареи не берущие постоянный ток, от моргали начинали его поглощать.
Эти утверждения были ошибочными, или ... ?

Цитироватьесли заряжать АКБ 12В 12Ач классикой СС-CV током 0,1С то моргалка с данным алгоритмом зарядит по времени точно так же, но током 0,2С без всякого ущерба для АКБ (поскольку ток по среднему получается такой же)
ИМХО, проводя эксперименты с током 0,005 - 0,01С, нельзя делать выводы о токах 0,1-0,2С.

Vova_n

[user]Cyberpapa[/user], Юрий в поисках это очевидно и истину он найдёт свою рано или поздно.
Цитата: UriBas от 13 Июнь 2019 в 11:30с данным алгоритмом зарядит по времени точно так же, но током 0,2С без всякого ущерба для АКБ
А каким образом ток подаётся? подача постоянного тока или ВЧ шим?



UriBas

#677
Цитата: Vova_n от 13 Июнь 2019 в 13:21,..А каким образом ток подаётся? подача постоянного тока или ВЧ шим?
Пока вообще без ШИМ.. В основе алгоритм раскачки - просто и тупо подаются интервалы заряда от 0,1сек и до 29минут по принципу чисел Фибоначи (ответ №662 37стр), между интервалами заряда фиксированная пауза 7 секунд,  Еще  в этом участвует дельта + верхний порог, который в принципе лишь для страховки.  Как только дельта достигает 0,4-0,5В идет анализ длительности заряда и уже от этого  начинается либо просто пауза 7сек, либо пауза 7сек + раскачка, либо большая пауза+ раскачка, либо качели с контролем скорости саморазряда и далее заряд с самого начала по кругу (с раскачки).   

Благодаря вот такому алгоритму, даже без ШИМ, банки не вылетают выше 2,4В - пробовал на убитом АКБ. при этом скорость заряда не страдает, но только если ток заряда выше в два раза чем у классики.  Примерно пока так..  ШИМ обязательно попробую, но это уже на закуску"..  Надо будет использовать все самое лучшее, что тут достигнуто общими усилиями всех форумчан.
Восточная мудрость - "Шакал воет - караван идет"  Эл.вел. 350Вт.   Верую в Иисуса Христа, НЛО.  тема "продвинутой моргалки" https://electrotransport.ru/index.php?msg=1669651

UriBas

Цитата: Cyberpapa от 13 Июнь 2019 в 12:57[user]UriBas[/user], ранее Вы утверждали, что моргалка заряжает более быстро чем CC/CV.  По ранним вашим утверждениям батареи не берущие постоянный ток, от моргали начинали его поглощать. Эти утверждения были ошибочными, или ... ?
Нет не ошибочны, это общеизвестный факт.  Даже сам Касс это подтвердил через свои опыты и через один случай, который он рассказал как чиркал по АКБ "импульсами" и тот завелся".. если конечно мне не изменяет память.   Тут все дело в состоянии АКБ - это ключевой момент.   Если АКБ в хорошем состоянии, то ему импульсы как комар для слона - не сильно-то влияют на скорость заряда. Поэтому в сравнительных тестах, на одном и том же токе заряда моргалки проигрывают классике..  и это логично, ведь используются паузы и они снижают средний ток.  Ну а если моргалке увеличить ток, чтобы средний был больше - то скорее всего она и зарядит быстрее.  Это тоже логично.. как если бы мы сравнивали заряд по классике, но с разными токами заряда. - быстрее зарядится тот, у которого ток заряда выше. Понятно, что есть пределы по верхнему и по нижнему порогу, выше или ниже которых эффективность падает.

Цитата: Cyberpapa от 13 Июнь 2019 в 12:57ИМХО, проводя эксперименты с током 0,005 - 0,01С, нельзя делать выводы о токах 0,1-0,2С. 
Согласен, поэтому проверим и так и сяк..
Восточная мудрость - "Шакал воет - караван идет"  Эл.вел. 350Вт.   Верую в Иисуса Христа, НЛО.  тема "продвинутой моргалки" https://electrotransport.ru/index.php?msg=1669651

Кass

Цитата: Cyberpapa от 12 Июнь 2019 в 23:33Очень показательно, батарея с грузовика достойно держит 1 А (ток ≈ 0,01С), в течении 2ч20 мин.

Тут все очень просто. Если батарея мертвая, то у нее напряжение начинает уменьшаться. Если живая, то напряжение долго стоит на одном месте, или даже начинает повышаться. Потом я же пишу о среднем значении тока. По факту там идут импульсы разряда с амплитудой гораздо больше 1А. Грузовик, там громко сказано. Небольшой грузовичок. Батарея 95Ач. Раз после заряда напряжение практически стояло на месте, и даже на сотые доли вольта пошло вверх, то батарея просто почти разряжена и все. Так как давно разряжена, то возможно засульфатирована.
АРМ стенда онлайн: http://scada.kontar.ru Пользователь: Электротранспорт, Пароль: 111111

Гербалайф от всех болезней, Кашпировский лучший врач,  Орифлейм самая лучшая косметика, а МММ самый лучший способ вложения денег. Кто бы спорил. ;)

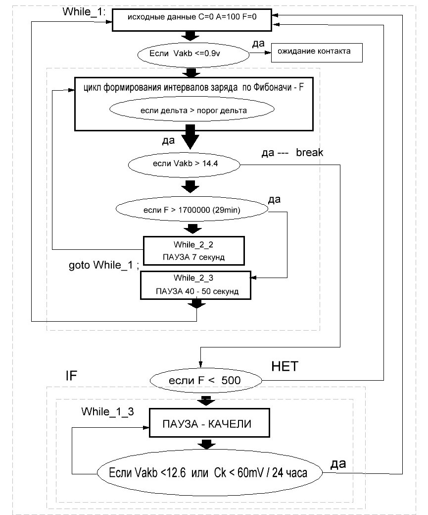
UriBas

#680
Обновляю функциональную схему алгоритма, по этой схеме были последние испытания
Спойлер
Скетч надо немного подрихтовать, потом выложу.

Кстати очень интересно - музыкант сделал музыку по фибоначи..
https://www.youtube.com/watch?v=c0E4bc_VPKI
Восточная мудрость - "Шакал воет - караван идет"  Эл.вел. 350Вт.   Верую в Иисуса Христа, НЛО.  тема "продвинутой моргалки" https://electrotransport.ru/index.php?msg=1669651

Alex_Soroka

Цитата: UriBas от 13 Июнь 2019 в 15:24
Пока вообще без ШИМ.. В основе алгоритм раскачки - просто и тупо подаются интервалы заряда от 0,1сек и до 29минут по принципу чисел Фибоначи (ответ №662 37стр), между интервалами заряда фиксированная пауза 7 секунд,  Еще  в этом участвует дельта + верхний порог, который в принципе лишь для страховки.  Как только дельта достигает 0,4-0,5В идет анализ длительности заряда и уже от этого  начинается либо просто пауза 7сек, либо пауза 7сек + раскачка, либо большая пауза+ раскачка, либо качели с контролем скорости саморазряда и далее заряд с самого начала по кругу (с раскачки).   
у вас получился алгоритм "хитрый Вудбридж"  :hello:
я подобным игрался в 2009 году, там если АКБ хороший, то можно "попасть в размер" импульсов так, что АКБ можно будет зарядить за 40 минут до 100%. Но сильно много "если"...

UriBas

#682
Тестирование моргалки несколько задерживается..не обошлость без проблем -  то жара (сидеть за компом невозможно), то прибор накрылся и надо было принимать меры на восстановление.. другие неотложные дела.   (По молитвам) Как раз нашелся подходящий АКБ для проб, но встал вопрос в разряднике, да если бы только в разряднике!.. - но именно в адаптивном разряде!.

   АКБ (50Ач, необслуживаемый)  дал товарищь в хорошем состоянии НРЦ = 12,8   Rвн = 5,6мОм,  ему всего 1,5года (но уже 1,5 года!) .. так что тут важно не навредить (не дай Бог!).   В то же время, важно протестировать по полной - определить реал емкость до и после, разбаланс до и после.. С задачей сделать разрядник, и протестить моргалку -  думал справлюсь за пару дней, но не тут-то было.  По сути, приходится по новой писать разрядный скетч (программу) и это еще посложней, чем зарядный.  Но если получится (есть уверенность), то это даст большое преимущество как в тестировании самого АКБ, так и ЗУ - моргалок, в том числе и по Фибоначи.

Пока выкладываю простой алгоритм разряда с выкачкой, с которого все началось.. потом (даст Бог) выложу и с адаптивным разрядом...  Планируется еще сделать лечебный разряд по Фибоначи с контролем скорости падения и с выкачкой тоже по Фибоначи.
Спойлер
Восточная мудрость - "Шакал воет - караван идет"  Эл.вел. 350Вт.   Верую в Иисуса Христа, НЛО.  тема "продвинутой моргалки" https://electrotransport.ru/index.php?msg=1669651

Cyberpapa

Цитата: UriBas от 02 Июль 2019 в 09:37Тестирование моргалки несколько задерживается..не обошлость без проблем -  то жара....
[user]UriBas[/user], если имеется возможность - прикрутите датчик температуры, иначе, из-за дрейфа температур можете получать неверные сравнительные тесты.

В данный момент, в моих тестах,  из-за суточного дрейфа температуры, напряжение на клеммах меняется в диапазоне 14,49 - 14,82 В, дельта 0,33 В. (ток заряда держится как в танке - не меняется.)

Порылся в закромах родины, надыбал датчик температуры, и три датчика давления с измерением температуры. Планирую прикрутить два датчика. Один будет измерять воздух, второй температуру АКБ, дабы можно было вычислять нагрев батареи из-за подводимых токов.