Li-Force проект всесезонной танкетки - Страница 12
 
avatar_DED

проект всесезонной танкетки

Автор DED, 25 Июнь 2013 в 13:35

« назад - далее »

0 Пользователи и 1 гость просматривают эту тему.

SMILE1

[user]DED[/user],  )))) вы очень большой оптимист если всерьез расчитываете что кто нибудь даст вам ребенка летом для катания на гусях.
Родителям будет проще нового сделать, чем этого отмыть )))
И главное где вы его собираетесь катать?? По асфальту не позволят пластмассовые звезды. По газонам не дадут ездить соседи. В пампасы не разрешат родители. Остается огород.... но за это хозяйка скалкой штрафные пробьет.

А если серьезно, то лыжи летом меняются на колеса и всех делов.
Non credo quia absurdum

DED

Ребенка родители дают без опасений. Он с двух лет в велосекции приучен к шлему, наколенникам и налокотникам. 
Кататься тоже есть где. На даче по соседству большой парк для квадроциклов, лошадей, пинболла и всякой другой развлекухи.
В некоторых местах трава по пояс - самое то.
А еще лучше по кустам и песчаным дюнам возле карьера. Тут уж никакие колеса не прокатят.

И кстати, насчет асфальта.
Бурановские мягкие звезды не достают до него. Гуся своей толщиной и высоким протектором защищают.
Разворачиваться на месте резиновыми гусями точно не айс. А вот по прямой, или с небольшими виражами без проблем.

Зато вот по такой дороге самое то. http://www.vesti.ru/videos/show/vid/540796/cid/1/#/video/http%3A%2F%2Fplayer.rutv.ru%2Fiframe%2Fvideo%2Fid%2F642629%2Fstart_zoom%2Ftrue%2FshowZoomBtn%2Ffalse%2Fsid%2Fvesti%2FisPlay%2Ftrue%2F%3Facc_video_id%3D540796

SMILE1

#200
О как... да, в таком антураже  идея танкетки  интересна.
:wow: :wow: :wow:
А если все таки отойти от мотоциклетного седла???
У вас же оно появилось только потому что некуда приткнуть акки... а если их расположить над гусями??
В виде таких крыльев-бордюров огораживающих пилота от веток, грязи и др.??
Non credo quia absurdum

AS2


DED

#202
Что-то я совсем заковырялся с бытовыми делами и притормозил проект.
Гуся прекрасно разрезалась болгаркой с тонким диском. Оказалось, она сделана из очень мягкой резины (почти жидкой), в которой залиты поперечные анкера из композитного материала.
Вывернуть гусю перед резкой наизнанку не получилось из-за ее полной нескручиваемости. Это главный плюс этой гуси, позволивший ее использовать в Мауги.
После разрезания гуся стала более послушной в продольной гибкости. Ее без труда раскрутит даже не мощный движек.

Кроме того, понадобилось изготовить некоторое количество простых токарно-фрезерных деталек.
Но, видимо я слишком отстал от реальной жизни, и цены, запрашиваемые на это у разных мастеровых показались неразумно завышенными  - около 12-15тыр за то, что раньше обходилось за "бутылку" на ближайшем производстве. Видимо, сильно поменялись времена.
Поэтому я подумал, что разумнее будет прикупить себе простенький токарно-фрезерный станок для разных настольных поделок.
Присмотрел себе такой бюджетный вариант  http://www.belinstrument.com/show/546.html
Может кто что-то сказать про такой выбор?

абориген

 Токарка-фрезеровка мягко говоря в "космосе" ценник заточен под огнестрел и мопедоров, поэтому под наши цели не подходит. Все ценники начинаются с 500р/час из которых 50 минут подход/отход/чай-кофе. и например длинная гайка М8 обойдётся в 1000р. Поэтому я и отказался от многих идей и прочих "шедевров" и клепаю мыльницы с готовыми редукторами.

СтаноГ говно! круглая стойка фрезера не даст работать фрезами, а миниатюрные размеры не дадут точить обоймы под подшипники более 201-202
Для себя рассматривал вариант с фрезерным станком (вертикалка) с максимально высокой стойкой и при небольшой доработке его можно использовать как токарник.

DED

Абсолютно прав оказался абориген - выбранный станок при внимательном ознакомлении оказался дерьмовеньким.
А для стОящего варианта нужна отдельная мастерская с бетонным полом и кафелем на стенах, с вытяжкой и пр.
Увы, это уже не в этой жизни.
Зато зять заказал неплохой вариант ЧПУ для своих поделок. На нем можно будет и мне присоседиться с несложной фрезеровкой.

А сейчас только успел подготовить все бурановские звезды под гусю. Вживил в них подшипники под 16мм ось.
И еще собрал в "безтокарном"  конструктиве переходные звездочки под цепи двух типов.
Общий коэффициент цепного редуктора получился равным 9,2.  Это максимальная скорость не более 10км/час. Зато по ЛЮБОМУ грунту и рыхлому снегу.


pchelomor

Цитата: DED от 23 Март 2015 в 14:32
Вживил в них подшипники под 16мм ось.
Ничего не путаете? Отв. в подшипниках есть 15 мм и 17 мм. На 16 мм не видел :bn:
Мой проект https://electrotransport.ru/index.php?topic=22864.0
Чертежи бесплатно. Информация в шапке.

toncher

Подтверждаю, ДЕД что-то путает :kidding:

DED

Все верно, я же написал: подшипники под ось 16мм.  Подшипники 6203 с внутренним диаметром 17мм.
В качестве осей на все колеса гуси я использую стандартные резьбовые шпильки 16мм. Подшипники стянуты гайками.
Чтобы не было "болтанки" подшипников для их плотной посадки на ось буду делать гильзы-вставки из стали 0,5мм.

pchelomor

Цитата: DED от 23 Март 2015 в 18:22
Все верно, я же написал: подшипники под ось 16мм.  Подшипники 6203 с внутренним диаметром 17мм.
В качестве осей на все колеса гуси я использую стандартные резьбовые шпильки 16мм. Подшипники стянуты гайками.
Чтобы не было "болтанки" подшипников для их плотной посадки на ось буду делать гильзы-вставки из стали 0,5мм.
Такой способ закрепления имеет место быть... однако надежным его назвать тяжело. Усталостные напряжения будут крошить гильзу. Может все-таки концы шпилек разделать под подшипники 15 мм + фиксация гайками М14? :pardon:
Мой проект https://electrotransport.ru/index.php?topic=22864.0
Чертежи бесплатно. Информация в шапке.

DED

#209
Сейчас уже поздно переделывать. Все бурановские колеса уже капитально оснащены подшипниками с внутренним диаметром 17мм. Отцентрованы внутренними вкладышами, и стянуты боковыми стальными щечками. Получилось весьма удачно по прочности закрепления подшипников внутри колес. 
Оси из 16мм резьбовых шпилек уже нарезаны для всех колес. Да и обтачивать их не на чем.
Наоборот, постарался полностью уйти от каких-либо токарных деталей и работ.

По-началу очень настораживало отсутствие в конструкции гусениц традиционных натяжителей и амортизаторов.
Но после знакомства с Маугли, с ее половинками бурановской слабонатянутой резины все сомнения отпали.
Также было трудно преодолеть отказ от использования привычных несущих "чугунных" сварных рам, но после полученных практических результатов однозначно победили боковые несущие фанерные панели.
Первоначально планировались панели из  стеклотекстолита 8мм, но 10мм фанера показала свою достаточную прочность и неубиваемость.
Единственно, в отличие от стеклопластика, придется ее дополнительно пропитывать корабельной мастикой и лачить.  Зато дешево, прочно и хорошая экономия веса.
Кстати, очень рекомендую и для детских колесников вместо тяжеленных рам ставить фанерный несущий лист. Получается легкая и упругая конструкция.


DED

#210

Вся необходимая комплектуха и узлы для мотор-гусей есть в наличие. Теперь надо найти время и все собрать.
В конечном варианте решил остановиться на управлении гусями при помощи регулируемого самокатного руля с ручкой газа, и электронным считыванием текущего угла его поворота.
Важным моментом управления реверсом мощных коллекторных движков является перекоммутация сильноточных шин (20-25А).
Пришлось ориентироваться на сильноточный пакетный переключатель УП5312. http://elektroservice.com.ua/images/stories/YPRAV-I-IND/PEREKLUCHATEL/pereklyuchateli-up5300-up5400.pdf
Важным также является то, что у данного пакетника есть нейтральное (разомкнутое) положение. Это очень важно при буксировке танкетки. Концы от моторов при этом обязательно должны быть отключены от выходов контроллеров, и не коротиться. Иначе ее придется только переносить на руках.

DED

#211
К сожалению, мой вариант гусеничной танкетки обречен на массовую непопулярность. Слишком небюджетен для детско-подростковой реализации. Из области экзотики.
Тем не менее помимо утилитарного применения для меня он представляет еще поисково творческую задачу  - отработку концепции.
Главное - уйти от традиционной рамной конструкции, обеспечить удобное транспортирование и разборность, и получить неплохие ходовые качества на любом грунте, и в первую очередь на рыхлом снегу.
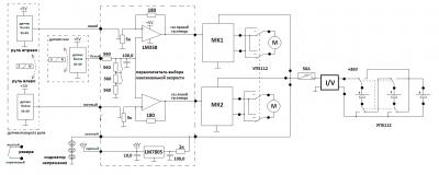
Делаю неспешно, по мере появления свободного времени. Периодически всплывают какие-то непредвиденные вопросы. В основном по механике. С электрикой все решил. Несложная схема в приложении. Из нюансов по ней:
Введена небольшая инерция управления газом, чтобы не было рывков при езде при резком управлении газом.
Обязательно, как уже писал ранее, должен быть переключатель направления хода с нейтральным положением. Иначе движки полностью стопорят ручную буксировку.





Решен вопрос с управлением гусями. Для этого заюзан  самокатный телескопический руль с изменяемым наклоном. Дооснастил его датчиком угла поворота.


Так выглядят макеты встраиваемых в гусеницы мотор-редукторов



Аккумуляторы на 30Ач  http://www.akb12v.ru/uniforce-moto-12v30-53030



DED

#212
А вот и нет - не бросил тему. Просто не получалось выделить время.
Пока  успел собрать лишь одну гусю.

Мотор-редуктор собран на своей сборной раме. И вставлен внутрь двух боковых фанерных панелей.
Конструкция получилась весьма жесткая и прочная.





Не удержался и прокатился на одной гусе, как на скейте. Запитал мотор от 12В (вместо 36) - по кафелю идет мягко, только резина гуси скрипит. Уже уверен, что две гуси от 36В понесут взрослого с хорошей скоростью, не говоря уж о ребенке.

То есть, получившаяся гуся является законченным тяговым устройством.
Его питание может варьироваться от 12 до 48В, развивая скорость до 15км/час.
Вес гуси в сборе около 25кг, грузоподъемность не менее 100кг (пока предел не проверялся). Определяется прочностью на изгиб стальной оси 16мм длиной 200мм.
Общий конструктив танкетки зависит от вкуса разработчика и общего целевого назначения.
Можно с высокой седушкой посередине на аккумуляторах. Можно аккумуляторы по бокам с низкой седушкой посередине.
Можно стоя. Можно на одной гусе с лыжей, и т.д.

Обязательно ребенка надо пристегивать ремнями. При торможении или крутых виражах на скорости даже в 10км/ч его как куклу выкидывает с борта - гуси останавливаются моментально.

DED

#213
Удалось еще одни выходные выделить на танкетку. Практически закончил всю механику  - вторую гусю в сборе и верхнюю раму с сидушкой./:-)


Взвесил все блоки.
Каждая гуся в сборе - по 24,5кг;
Верняя панель с сидушкой и со всей начинкой внутри (без аккумуляторов) - 10,5кг;
Аккумуляторы (три штуки по 30Ач) - 25кг.
Итого, полный вес снаряженной танкетки 84,5кг. Чуть больше, чем планировал.
Не хотелось переваливать за сотню вместе с весом седока.

Вся танкетка состоит из трех отдельных частей, которые быстро стыкуются на "барашках" при перевозке.
Но в большой багажник можно класть и в сборе. Для этого по краям есть ручки, которые также используются при толкании на местности с выключенными моторами.

Теперь предстоит ставить внутрь сидушки всю начинку.


Много мороки с аккуратной разделкой силовых проводов. Ведь к аккумуляторам сечение 4мм.кв.  Все надо делать на наконечниках с хорошей пайкой.


Пробовал сам садиться на сиденье. Помещаюсь, но маловата кольчужка. Приходится сидеть на самой задней части сиденья.
А вот для малявок , и для тинейджеров будет очень удобно.
Еще надо делать быстро регулируемую спинку и крепление ремней безопасности.

Piramidon


DED

Дык, уж теперь отступить не получится, все практически готово. К сожалению, удается заниматься урывками лишь по некоторым выходным в загородней мастерской.
Но до зимы еще долго.
Летом по асфальту на гусях неразумно ездить. Резина мягкая, цепляется. При маневрировании токи в опережающей гусе максимальные.
Другое дело по снегу или высокой траве. Можно на минимальных мощностях кататься, в пределах нескольких сотен Вт.
И только при преодолении высоких препятствий, в гору или глубоком рыхляке форсаж включать. В каждой гусе чуть больше, чем  по одной "лошадке" живет. Для зимних офроуд покатушек на начальном этапе достаточно.
Но для тинейджерного возраста и старше, для нормальных скоростей и для максимального драйва только ДВС.